闸阀 系列
蝶阀 系列
球阀 系列
安全阀 系列
止回阀 系列
截止阀 系列
减压阀 系列
旋塞阀 系列
电站阀 系列
保温阀 系列
疏水阀 系列
调节阀 系列
电磁阀 系列
氨气阀 系列
氧气阀 系列
气动阀 系列
温控阀 系列
液位计 系列
过滤器 系列
锻钢阀 系列
美标阀 系列
真空阀 系列
 
 
 

所属类别:安全阀

商品名称:全启式超高压安全阀



全启式超高压安全阀

产品型号:A42Y-1000

A42Y全启式超高压安全阀
A42Y全启式超高压安全阀
  A42Y-1000适用于工作温度≤200℃的水、非腐蚀性油品等介质的设备和管路上,作为超压保护装置。

主要零部件材料


NO.
零件名称
A42Y-1000材料
1
阀体
锻35
2
阀瓣
2Cr13
3
导向套
2Cr13
4
阀盖
35
5
弹簧
50CrVA
6
阀杆
2Cr13
7
调整螺杆
45
8
阀帽
ZG200-400
密封面材料
堆焊Co基硬质合金

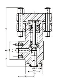
外形尺寸和连接尺寸

公称通径
尺寸
do
D
D1
M
B
Z-ød
DN'
M'
L
L1
H
10
6
115
80
M42×2
32
4-18
15
M27×2
80
110
320
15
8
135
95
M48×2
36
4-22
20
M33×2
80
120
330
25
10
165
115
M64×3
40
6-26
32
M45×2
85
130
350

安全阀系列产品目录:

A21 弹簧微启式外螺纹安全阀

A28Y 带手柄弹簧全启式安全阀

AY42H安全溢流阀

WA42Y-16/25/40/64/100波纹管平衡式安全阀

A48Y带扳手弹簧全启式安全阀

A47H带扳手弹簧微启式安全阀

TA40Y带散热器弹簧全启式安全阀

GA41H单杠杆安全阀

A42Y弹簧全启封闭式安全阀

A42Y弹簧全启封闭式高压安全阀

A41H弹簧微启封闭式安全阀

A41H弹簧微启封闭式安全阀

A41Y-160弹簧微启封闭式高压安全阀

A61H 弹簧微启式安全阀

GYA系列液压安全阀

YFA48Y-16C/40I/64V/100V高温高压安全阀

AQ系列空压机安全阀

GA49H-4 DN25脉冲式安全阀

AHN42F-P18平行式安全回流阀

A42Y-1000全启式超高压安全阀

GA44H-16C/25/40 GA44H-64双杠杆安全阀

A38Y A43H A37H 双联弹簧式安全阀

AH42F液化石油气安全阀/安全回流阀

YFA72W-10P/10R真空负压安全阀

A49H-4主安全阀

F2-250/400主安全阀

A21W-16/40/64/100/160不锈钢微启式安全阀

A27H/W-16C/P弹簧微启式安全阀



   

 
       
 

营销总部:上海交通西路48号 电 话:86-021-56097727 13761168725(谢经理) 传 真:86-021-61198795

客服QQ:466983692点击这里跟上海恩光阀门客服聊天或者留言版权所有 ALL RIGHTS RESERVERD 2005-2015

隐私声明

网站地图